Устройство кровли из рулонных материалов
компании
работ
техники
- Монтаж проектов любых видов кровли (крыш)
- Используем современные технологии монтажа и ремонта , позволяющих исключить наледь, сосульки и протечки
- Опыт в кровельных работах более 22 лет
- Производим работы про проектированию и строительству кровель частных домов и пром зданий
- Строгий контроль качества на всех этапах работ
- Работаем как с небольшими, так и с крупными заказами для промышленных зданий, заводов
- Наличие собственного качественного оборудования для монтажных работ
Устройству каждого вида кровли предшествуют специальные подготовительные работы: устройство оснований и гидроизоляции, приготовление мастик и грунтовок.
Производство работ по устройству кровли следует начинать с участков, наиболее удаленных от мест подъема материалов на покрытие, и вести от пониженных точек к повышенным.
Мягкая рулонная кровля устраивается в зависимости от уклона скатов в несколько слоев:
- при уклоне более 15% - в 2 слоя;
- при уклоне 5-15% - в 3 слоя;
- при уклоне 0-5% - в 4 слоя.
Максимальный уклон крыши под рулонные материалы не должен превышать 25%. В основном мягкая рулонная кровля устраивается на плоских или пологих скатах, где нельзя использовать другие кровельные материалы.
Подготовительными процессами при устройстве кровель из рулонных материалов является подготовка и приготовление грунтовок, мастик и рулонных материалов к наклейке. Начинают с подготовки основания под пароизоляцию, включая устройство опор под воронки внутреннего водостока. Затем на крышу подают мастику. Если для пароизоляции используют пергамин, его наклеивают по мастике.
Для наклейки рулонных материалов к основанию используют холодные и горячие мастики. Холодную битумную мастику перед укладкой на основание расплавляют до температуры 150-160 °С. Для приготовления горячих мастик битум расплавляют до температуры 220 °С, затем вводят порошкообразные минеральные наполнители, например, тальк, диатомит, трепел.
Перед укладкой на основание должен быть подготовлен кровельный материал. Для этого он должен быть раскатан с одновременной очисткой поверхности от посыпок и выдержан в течение 24 часов.
Материалы, не имеющие покровного слоя, перематывают на другую сторону. Если рубероид предстоит укладывать по холодной мастике, очищать его от посыпки не надо, так как она поглощается мастикой, становясь ее наполнителем.
Наклейка полотнищ рулонных материалов.
Для склеивания полотнищ рулонного материала используются родственные мастики. Слои рулонных кровельных материалов, приготовленных на битумной основе, приклеивают битумными мастиками, а толь - дегтевыми составами.
При наклейке полотнищ необходимо учитывать величину уклона крыши, направление стока воды, направление господствующих ветров и температуру воздуха. Полотна на крышах с уклоном до 15% наклеивают в направлении от нижних мест к повышенным с расположением их перпендикулярно стоку воды. На крышах с уклоном более 15% полотна наклеивают от повышенных мест к пониженным в направлении стока воды, чтобы рулонный ковер не сползал.
Стелятся рулонные полотнища на скатах внахлестку: каждый последующий слой должен перекрывать стык элементов нижнего. При уклоне крыши более 5% ширина нахлестки должна быть 70 мм во внутренних слоях ковра и 100 мм - в наружных. При уклонах менее 5 % ширина нахлестки во всех слоях не должна быть меньше 100 мм.
Для наклейки рулонных материалов вручную необходимо звено, из двух человек: "укладчика" и "щеточника". Щеточник наносит мастику на основание и внутреннюю поверхность рулона, а укладчик подгоняет и приклеивает полотнища к огрунтованному основанию. В завершение наклеенное полотнище после пришпатлевки кромок шпателем прокатывается катком (рис.1). Следующие полотнища наклеиваются аналогично.
Качество приклеивания рулонных материалов оценивают, медленно отрывая один слой ковра от другого: разрыв допускается по мастике или рулонному материалу.
Если во время наклейки полотнище отклонилось немного в сторону, то его можно попытаться сдвинуть не отклеивая. Если это не получается, необходимо отрезать приклеенную часть полотнища и наклеить ее правильно с нахлестом в 100 мм.
Вздутия, образовавшиеся по ходу наклейки, прокалывают шилом или прорезают, а затем крепко прижимают к основанию, пока из отверстия не потечет мастика.
Укладывают рулонные полотнища послойно, причем, при использовании холодных мастик интервал между наклейкой каждого слоя должен быть не менее 12 часов.
Наружную поверхность битумного кровельного ковра покрывают мастикой слоем 3-5 мм, затем рассеивают и втапливают в нее мелкий горячий гравий (размером 3-6 мм), получая таким образом защитный слой из гравия (рис.2). Битумно-полимерные рулонные ковры имеют внешний защитный слой, а полимерные ковры иногда покрывают лаковым слоем специальной мастики.
Наклейка рулонного ковра является весьма трудоемкой операцией, требующей больших затрат ручного труда. В последнее время созданы машины для механизации кровельных работ, о чем будет рассказано отдельно, т.к. применение такого оборудования целесообразно только на крупных объектах при больших объемах работ по устройству мягких кровель или в специализированных строительных организациях или фирмах.
Элементы крыши покрываются в различной последовательности: иногда одновременно с обклейкой скатов, иногда вначале (до скатов), а иногда и после устройства основного покрытия. В устройстве рулонной кровли на различных элементах крыши полотнища соединяются либо в вилку, либо внахлест.
Покрытие карнизных и фронтонных свесов
После устройства карнизных блоков по карнизу дома укладывается переходной деревянный брус, который сверху закрывают листами кровельной стали. Одновременно к карнизу крепят лотковые скобы, на которые укладывают желоба, крепящиеся к скобам заклейками. Сливную полосу карниза также покрывают стальными листами. Таким образом, карнизный свес подготовлен к оклейке рулонными материалами.
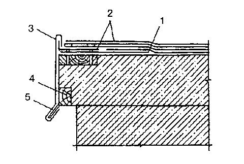
Вдоль фронтонного свеса приклеивают дополнительное полотнище, на которое укладывают рулонные полосы. Кроме того, к свесу крепят кляммеры, за которые крепится фартук из кровельной стали (рис.3).
Покрытие ендов и разжелобков
Так как разжелобки и ендовы имеют наименьший уклон, то их покрывают в 4 или даже 5 слоев рулонного ковра. Смежные полотнища в слое перекрывают друг друга на 100 мм (по направлению стока воды).
Покрытие конька крыши
Конек крыши с уклоном менее 15% оклеивают полотнищами, уложенными перпендикулярно стоку воды; конец крыши с уклоном более 15% - параллельно стоку.
При первом способе покрытия конька (рис.4 а) нижний слой рулонного ковра составляют наклеенные встык на коньке два полотнища. Второй слой - внутреннее коньковое полотнище шириной 400 мм. Третий слой - вновь два полотнища, приклеенные встык. Четвертый слой - второе коньковое полотнище 4 шириной 500 мм. Пятый слой - два наружных рулонных полотнища 6, уложенные встык. Последний слой - верхнее коньковое полотнище 5 шириной 600 мм.
При втором способе покрытия конька все внутренние и наружные слои наклеиваются перпендикулярно коньку с перепусканием каждого через конек на 200 мм (во внутренних слоях) и на 250 мм в наружных слоях (рис.4 б).
СХЕМА ОПЕРАЦИОННОГО КОНТРОЛЯ КАЧЕСТВА УСТРОЙСТВА КРОВЛИ ИЗ РУЛОННЫХ МАТЕРИАЛОВ
Состав операций и средства контроля
| Этапы работ |
Контролируемые операции
|
Контроль (метод, объем)
|
Документация
|
|
Подгото- вительные работы
|
Проверить: - наличие акта освидетельствования устройства основания под гидроизоляционный ковер; - очистку основания от грязи, мусора, снега, наледи и его просушку; - наличие документа о качестве на изоляционные материалы; - подготовка материалов к работе (рулонных материалов, мастик).
|
Визуальный То же “ “
|
Акт освидетель- ствования скрытых работ, общий журнал работ, паспорта (сертификаты)
|
|
Устройство кровли
|
Контролировать : - качество приклеивания дополнительных слоев материала в местах примыкания к вертикальным конструкциям; - направление раскатки, величину перекрытий (стыков) полотнищ; - плотность прилегания полотнищ к поверхности основания; - сплошность и толщину слоя мастики; - температуру наружного воздуха; - устройство защитного гравийного покрытия на кровельном ковре.
|
Визуальный Визуальный, измерительный Технический осмотр Измерительный, не менее 5 измерений на каждые 70-100 кв.м в местах, определяемых визуальным осмотром Измерительный, периодический, не менее 2 раз в смену Визуальный, технический осмотр
|
Общий журнал работ
|
|
Приемка выполненных работ
|
Проверить: - качество поверхности изоляционного ковра; - качество примыканий и водостоков; - прочность приклейки слоев рулонного материала; - величины перекрытий полотнищ; - отвод воды со всей поверхности кровли.
|
Измерительный, не менее 5 измерений на каждые 70-100 кв.м поверхности или на участке меньшей площади в местах, определяемых визуальным осмотром Технический осмотр То же Измерительный Технический осмотр
|
Общий журнал работ, акт приемки выполненных работ
|
|
Контрольно-измерительный инструмент: рулетка металлическая, двухметровая рейка, нивелир, уровень, термометр.
|
|||
|
Операционный контроль осуществляют: мастер (прораб), инженер (лаборант) - в процессе работ. Приемочный контроль осуществляют: работники службы качества, мастер (прораб), представители технадзора заказчика.
|
|||
|
|
другие услуги
- Быстровозводимые здания
- Высотные работы
- Строительство и продажа бетонных заводов
- Промышленное строительство
- Отопление зданий
- Фундаментные работы
- Монолитное строительство
- Промышленные полы
- Капитальное строительство
- Демонтаж зданий и сооружений
- Заборы и ограды
- Укладка брусчатки
- Строительство бассейна
- Строительство ресторана
- Строительство магазина
- Строительство производственных объектов
- Строительство административных зданий
- Строительство офисных зданий
- Строительство кирпичных зданий
- Монтаж систем вентиляции
- Кондиционирование
- Строительство бомбоубежищ
- Аренда складов
- Подготовка котлована
- Устройство насыпи
- Обратная засыпка песком или грунтом траншеи или котлована
- Отсыпка дороги щебнем и песком
- Выравнивание участка с отсыпкой грунтом и щебнем
- Подготовка траншей
- Обратная засыпка фундамента
- Перемещение грунта на строительной площадке бульдозером или между площадками на самосвалах
- Вертикальная планировка грунта
- Устройство дорожных насыпей
- Вывоз грунта
- Выемка грунта
- Разработка грунта котлована
- Устройство шпунта
- Согласование проекта
- Согласование перепланировки
- Техническое обследование зданий и сооружений
- Проектные работы
- Проектирование общественных зданий
- Проектирование коттеджей
- Промышленное проектирование
- Проектирование торговых центров
- Проектирование складов
- Проектирование магазинов
- Проектирование ресторанов и кафе
- Проектирование гостиниц
- Проектирование кровли
- Проектирование мансард
- Проектирование навесных фасадов
- Проектирование фундамента
- Проектирование инженерных сетей
- Архитектурное проектирование
- Дизайн интерьера
- Проектирование ландшафтного дизайна
- Проектирование бассейнов
- Авторский надзор
- Проектирование реконструкции зданий
- Проектирование реставрации
- Проектирование металлоконструкций
- Проектирование железобетонных конструкций
- Сметы на проектирование
- Трехмерное 3D проектирование
- Проектирование фасадов
- Цены на лабораторные испытания